


FPT-DV-S1-1/2-*
Product SKU: FLUIDPRESSQ380
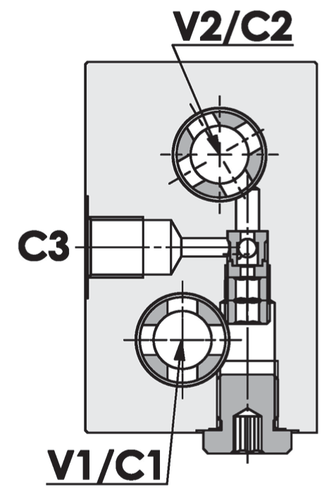
                Shuttle valve, flangeable on Samhydraulik motors AG/BG/AR/BR/ARSR/MB series
                        Rated Flow: 60 l/min
                        Max Pressure: 250 bar
            
                    
            Enquire Now