


VSCR-*
Product SKU: FLUIDPRESSM490
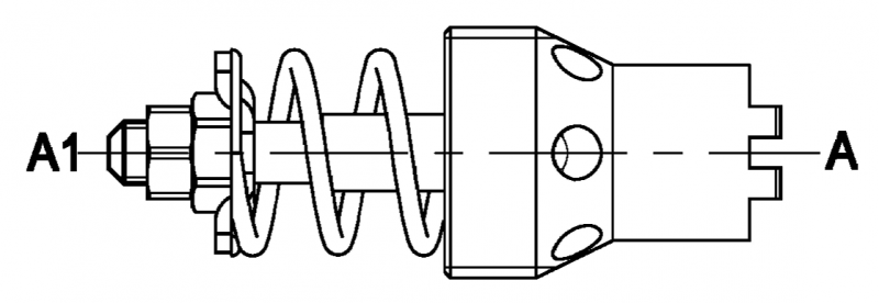
                Adjustable pressure compensated flow restricting valve
                        Rated Flow: see controlled flow setting list
                        Max Pressure: 250 bar
            
                    
            Enquire Now